Structural Elements 100
Beam Section TP 100
Application
Multifunctional beam section to create complex substructures and 3D units for a wide range of applications.
The beam section is suitable for a wide variety of applications with demanding load situations, e.g. with large spans or heavily loaded frame constructions.
Technical Data
| Type | Section modulus [cm3 ] | Moment of inertia [cm4 ] | Radius of inertia [cm] | Torsional moment lt [cm4 ] | Cross section A [cm2 ] |
|---|---|---|---|---|---|
| TP 100 | Wy: 71.00 Wz: 26.70 | ly: 341.00 lz: 133.00 | iy: 4.14 iz: 2.59 | 5.15 | 19.0 |
Mechanical properties shown above take into account perforations.
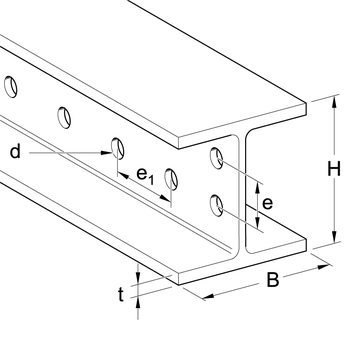
| Type | H [mm] | B [mm] | t [mm] | d [mm] | e [mm] | e1 [mm] |
|---|---|---|---|---|---|---|
| TP 100 | 96 | 100 | 8 | 13.5 | 50 | 32 |
| Material: | Steel, HCP |
Also available with DUALSHIELD for high corrosion protection within C5H environments.