siFramo 80
Slide Set GS F 80 2G
Application
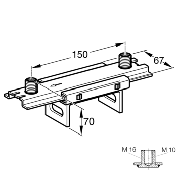
Pipe guide for twin-clamp connection designed to clutch the Beam Section F80 fixed by 2 x Self Forming Screws FLS.
Installation
Pipe clamp connection points “2G” receive M10 studs or M16 by adapter connection.
Technical Data
| Type | a [mm] | b [mm] | c [mm] |
|---|---|---|---|
| GS F 80 2G2 | 150 | 67 | 70,0 |
| GS F 100 2G2 | 150 | 67 | 75,5 |
![]()
| Type | Max. lever arm [mm] | Max. glide path s [mm] |
|---|---|---|
| GS F 80 2G | 150 | 100 |
| GS F 80 2G2 | 150 | 135 |
| GS F 100 2G2 | 150 | 135 |
| Perm. load elevated position: | 1,2 kN |
| Perm. load suspended position: | 0,6 kN |
| Permanent temperature range: | 130° C |
| Static friction coefficient µ0: | 0,20 |
| Sliding friction coefficient µ: | 0,15 |
| Material: | |
| Slide element: | Steel, HCP |
| Slide bar: | Polyamide (glass-fibre reinforced) |
| Retaining plate: | Steel, HCP |
