Together we build.
siklasicher.
Assembly System siMetrix 46

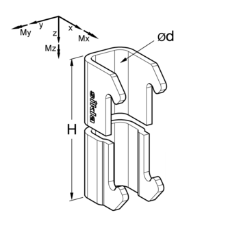
Profile Clip MPK 46

Application

With the Profile Clip MPK 46, threaded rods can be connected to the side of the Profile PRO 46 in a stepless manner. The height adjustment of the pipe clamp is also not limited. Due to the small installation footprint and offset lateral profile mounting, the clamp ears can be positioned to overlap one another.

Scope of delivery

MPK 46 as single part or
as pre-assembled set:
1 x MPK 46
1 x Threaded Rod GST 200 mm
2 x Hexagon Nut

Installation

Hook the Profile Clip MPK 46 into place on one side and snap it on by pressing in the middle. Then push the threaded rod through, set the required height and lock it with a nut at the top and bottom.

Technical Data

Type
d
[mm]
H
[mm]
± Vx,perm
[kN]
± Vy,perm
[kN]
± Vz,perm
[kN]
± Mx,perm
[kN]
± My,perm
[kN]
M8 9 45 0.84 0.52 2.93 0.05 0.04
M10 11 45 0.84 0.52 2.93 0.05 0.04
M12 13 45 0.84 0.52 2.93 0.05 0.04
M16 17 45 0.84 0.52 2.93 0.05 0.04

Tightening torque:
15 Nm
Material:
Steel, HCP
TypeW
[kg]
Quantity
[pack]
Part
number
M80.02200 803862
M100.03100 803863
M120.03100 803864
M160.04100 803865
     
BG-MPK 46 M8 x 2000.1020 807408
BG-MPK 46 M10 x 2000.1520 807409
BG-MPK 46 M12 x 2000.1920 807410
BG-MPK 46 M16 x 2000.3620 807411