siFramo 100
Pivot Joint GE F 100
Application
Applicable as a bracing element for single-arm cantilevers in conjunction with siFramo 100 section, and for the knee-brace reinforcing of siFramo frame constructions. The pivot can be installed with angles from 25° to 155°.
Installation
Attachment of the Joints to Beam Section TP F 100 by means of 4 Self Forming Screws FLS F at the base plate. The support profile TP F 80 or TP F 100 (depending on joint type) plugged onto the octagon is also attached by means of 4 Self Forming Screws, so 8 Self Forming Screws are necessary in total.
After installation at the desired angle the screws have to be tightened with 40 Nm.
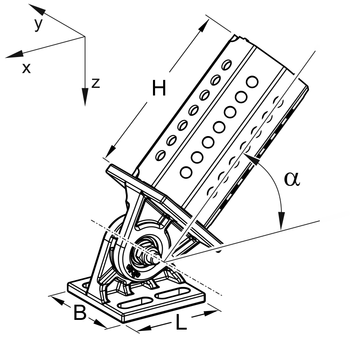
Technical Data
| Type | Height H [mm] | Length L [mm] | Width B [mm] | Angle α | Dimensions of base plate [mm] |
|---|---|---|---|---|---|
| GE F 100 - 80 | 140 | 100 | 100 | 25° - 155° | - |
| GE F 100 - 80 q | 140 | 100 | 80 | 25° - 155° | 210 x 100 x 8 |
| GE F 100 - 100 | 180 | 100 | 100 | 25° - 155° | - |
| GE F 100 - 100 q | 180 | 100 | 100 | 25° - 155° | 210 x 100 x 8 |
| Material: | Steel, HCP |
Also available with DUALSHIELD for high corrosion protection within C5H environments.
Approvals / Conformity
![]()
