Together we build.
siklasicher.

Application

Pipes up to NB 50 may be attached to trapezoidal metal sheet roofings. For devices or ducts, a load comparable to a NB 50 pipe is used for each holder for proving permissibility. Should it be necessary to fix larger loads, the respective load is to be distributed uniformly between several hangers, e.g. by way of a crossbar. The individual load for each hanger may not exceed the load exerted on a pipe of NB 50. Fixing several pipes to a crossbar is not permissible in such circumstances.

Types RM8 and RM10 provide subsequent height adjustment; their revolving knurled nut is safely retained, thus preventing any accidental unscrewing.
Type MS is equipped with a sound absorption unit
with integrated and secured distance sleeve for soundproof installation according to DIN 4109.

Scope of delivery

Completely pre-assembled (see drawings). Types M8, M10 with riveted nuts.

Installation

For drilling trapezoidal corrugated sheets, we recommend to use the Piercing Tool LOT 3; for fixing, we recommend a M8x100 (Part No. 138608) cross bolt.

Note:
Each through bolt is to be secured by means of a locking nut; the same applies to dynamic loads.
Blind steel rivets or sheet metal screws may not be used in Sprinkler Systems.

Technical Data

Working load:
0.8 kN for each fixing point (0.3 kN for Typ MS)
Note:
The carrying capacity of the trapezoidal corrugated sheet may restrict the application.

Material:
Steel strip 25 x 2.5 mm, pre-galvanised
Type M8, M10:
Riveted nut

Approvals / Conformity

Type M8 (125693) and M10 (125806) for Sprinkler Systems according to VdS Standards: G4820032 and Type M10 for Sprinkler Systems according to FM ≤ 3.

Roof Hanger TRH - G4820032 VdS PDF | 292.4 KB FM - Toggle Stud TD 10 and Roof Hanger TRH PDF | 203.2 KB

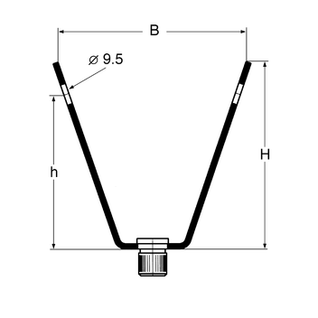
TypeH
[mm]
B
[mm]
unbekanntConnection
to system
W
[kg]
Quantity
[pack]
Part
number
M8909075M80.10100 125693
M10909075M100.10100 125806
RM 8909075M80.11100 125675
RM 10909075M100.11100 125684
MS909075ø 110.10100 151564