Together we build.
siklasicher.

Application

Universal clamping element for all load bearing end plate and channel connections to existing steelwork without welding or drilling.

Scope of delivery

Beam Clip 5P with support plate AU

Installation

Position the Beam Clip so that the slit side of the clip is in contact with the connecting part and the head of the clip against the existing (primary) steelwork to which the assembly is being fastened. Insert the hex bolt and tighten hex nut to the required installation torque.
The rounded support segment of the Beam Clip ensures that a form-fit contact is produced which prevents shifting or bending stress. Therefore a continuous Beam Clip preload force is ensured.

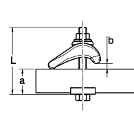
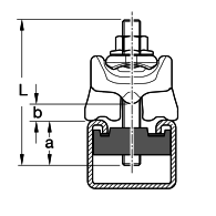
Determination of the required screw length Lmin:

Arrangement A
Hexagon bolt with Holding Bracket



M12: Lmin = a + b + 49 [mm]
M16: Lmin = a + b + 59 [mm]
 

Arrangement B
Inserted T-Head Bolt HZ


M12: Lmin = b + 55 [mm]
M16: Lmin = b + 65 [mm]

Technical Data

Type
Clamping range
[mm]
B
[mm]
L
[mm]
D
[mm]
M12 AU 1 - 30 44 60 13
M16 AU 4 - 40 48 72 17

Type
Tightening torque MA
[Nm] /
plus 90º revolution
Fz permitted
per Beam Clip
[kN] 1)
Shear force load capacity Fx
per 2 Beam Clips
[kN] 2)
M12 AU 60 / 90° 16.2 3.7
M16 AU 140 / 90° 19.5 4.2

1)
The specified data relate to the application of a standard hexagon bolt with strength class 8.8.
2)
The specified data relate to the worst case with flange thicknesses 30 mm (M12) or 40 mm (M16) as well as a coefficient of static friction µR = 0.20.
A possibly operating tensile force Fz isn't included.

Material:
Steel, HCP

Approvals / Conformity

TypeW
[kg]
Quantity
[pack]
Part
number
M12 AU0.1720 115034
M16 AU0.3020 115035